Product Summary
The 2DI150M-120 is a power transistor module. Application of the 2DI150M-120 are general purpose inverter, uninterruptible power supply, servo spindle drive for NC machine tools, robotics (servo drive for robots), switching power supplies for welding machines.
Parametrics
2DI150M-120 absolute maximum ratings: (1)Vceo: 1200 V; (2)VCEO: 1200 V; (3)VCEOISUS): 900 V; (4)VEBO: 10 V; (5)lc: 150 A; (6)ICP: 300 A; (7)- Ic: 150 A; (8)IB: 8 A; (9)1 BP: 16 A; (10)Pc: 1000 W; (11)Pc: 2000 W; (12)Ti: + 150 ℃; (13)Tsig: -40+ 125℃; (14)Visoi: 2500 V.
Features
2DI150M-120 features: (1)High Arm Short Circuit Capability; (2)High DC Current Gain; (3)Including Freewheeling Diode; (4)Insulated Type.
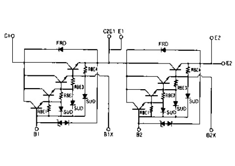
Diagrams

| Image | Part No | Mfg | Description | ![]() |
Pricing (USD) |
Quantity | ||||
|---|---|---|---|---|---|---|---|---|---|---|
![]() |
![]() 2DI150M-120 |
![]() Other |
![]() |
![]() Data Sheet |
![]() Negotiable |
|
||||
| Image | Part No | Mfg | Description | ![]() |
Pricing (USD) |
Quantity | ||||
![]() |
![]() 2DI150M-120 |
![]() Other |
![]() |
![]() Data Sheet |
![]() Negotiable |
|
||||
(China (Mainland))









