Product Summary
                                                  	The 6DI120A-060 is a power transistor module. 
                                                  
Parametrics
6DI120A-060 absolute maximum ratings: (1)Vceo: 600 V; (2)VcEO: 600 V; (3)VcEO(SUS): 450 V; (4)VEBO: 6 V; (5)lc: 100 A; (6)ICP: 200 A; (7)- Ic: 100 A; (8)IB: 6 A; (9)IBP: 12 A ; (10)Pc: 400 W; (11)Tj: + 150℃.
Features
6DI120A-060 features: (1)Including Free Wheeling Diode High DC Current Gain Insulated Type; (2)AC Motor Controls; (3)Air Conditioners.
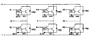
Diagrams

|  |  6DI100A-050 |  Other |  |  Data Sheet |  Negotiable |  | ||||
 (China (Mainland))
 (China (Mainland)) 
                         
                        
 
                                    




